找回密码
 立即注册
澳门威尼斯人
U8
U18
海燕招商
A
蓝盾
e世博
islot.
申博亚洲
B
开云
腾博会
德信
C级广告商
吉祥坊
华体会
查看: 115326|回复: 57

[彩票] 【实战有奖】今天到申博7V玩彩票输了水钱

[复制链接]

1211

主题

3万

回帖

668

金币

铂金用户

积分
90900

老会员交易勋章光影行者

发表于 2025-5-10 14:51 | 显示全部楼层 |阅读模式

马上注册,结交更多好友,享用更多功能,让你轻松玩转社区。

您需要 登录 才可以下载或查看,没有账号?立即注册

×
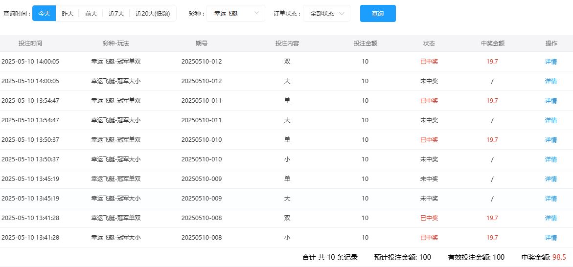
     今天又是去了申博玩了彩票了啊。也是一个可以接受的结果的啊。虽然是没有赢到钱,但是毕竟也是没有什么损失了啊。只是输了一点水钱而已了。" H1 c3 O0 r6 f  l- p& [
( ]9 |' V1 T, S
     今天到了申博是玩了幸运飞艇的啊。一进去就看到了冠军位置和亚军位置开了3和1了啊。我再观察了一下最近的开奖记录了啊。发现,两者相和的准确率还是不错的啊。于是就这么的玩了起来了啊。6 [. _& i7 ~  f0 ?! E4 ^) W$ k
     我买的是冠军位置了啊。第一期我打小和双各10个大洋了了啊。结果也是顺利的开了4出来啊。两红了啊。也是就赢了20的啊。
  r6 j, ?3 H9 x; R5 r) P6 r  C     第二期,我看到开了4和7了啊。就去买了大和单各10个大洋了啊。结果是开出了4了啊。又是4了啊。结果就是全黑了啊。也就是输了20出去了啊。两期下来,我是一点便宜都没有捞到了啊。
* t. x$ v$ [) g8 x) p! D     第3期,根据4和1,我选择了下注小和单各10个大洋了啊。,结果是开出了7这个数字,那就是出了大和单的啊。我也就是中了一个黑了一个的啊。那么就是打了一个平手了啊。
" F/ Y" i1 X4 a; }3 m- B    第4期,我根据7和6选择了买大和单各10个大洋了啊。结果是开了3这个小和单了啊那么就是红黑各半了啊。结果也是打平了。没有输的啊。
/ Z; |; U( T+ a9 F: {( A- {   第5期,我根据3个9买了大和双了啊。各小注10个大洋了啊。结果是开了4出来了啊。那么就是输赢各半了啊。也是就打和了啊。这样就是没有赢了啊。: v4 J- v: {4 @! n. `6 q
    5期下来了啊。我是没有赢的啊,但是也是没有输的啊。胜负是各半了啊。总计下注100流水,收回98,5了啊。也是就亏损了一点水钱了啊。还是可以接受的啊。
+ n* s+ t: [& s; x2 H, K    1.JPG 2.JPG " Y8 Q3 B# ]2 k! z
回复

使用道具 举报

1

主题

4994

回帖

4198

金币

金牌会员

积分
23389

老会员

发表于 2025-5-10 14:55 | 显示全部楼层
输一点服务费无所谓了,楼主这小平注玩法有点稳呀
回复 支持 反对

使用道具 举报

21

主题

2939

回帖

2948

金币

银牌会员

积分
12376

老会员

发表于 2025-5-10 15:11 | 显示全部楼层
你这属于有来有回了,起码没被爆头,算是练手练感觉了,下一把说不定就来了!
回复 支持 反对

使用道具 举报

197

主题

6859

回帖

148

金币

银牌会员

积分
13995

老会员交易勋章

发表于 2025-5-10 15:21 | 显示全部楼层
水钱输了倒没什么,就是怕输了个母鸡,把母鸡输掉就没鸡蛋可输了
回复 支持 反对

使用道具 举报

46

主题

1万

回帖

1372

金币

金牌会员

积分
24942

老会员

发表于 2025-5-10 15:57 | 显示全部楼层
如果总是在输钱,就不要玩了,希望以后都能有个好的结果了。
回复 支持 反对

使用道具 举报

194

主题

1万

回帖

1114

金币

千足金牌会员

积分
41393

老会员

发表于 2025-5-10 16:07 | 显示全部楼层
玩彩票游戏全是运气结果,但是自己打法计划不能少,不然上头了就杂乱无章
回复 支持 反对

使用道具 举报

194

主题

1万

回帖

1114

金币

千足金牌会员

积分
41393

老会员

发表于 2025-5-10 16:08 | 显示全部楼层
十里变百里 发表于 2025-5-10 15:57# A0 ^# s& C+ _0 @5 G) g* M
如果总是在输钱,就不要玩了,希望以后都能有个好的结果了。

4 e& D5 `, P8 i1 X+ p输钱还是非常无语的,不过是运气不佳而已,自己淡定接受也没啥
回复 支持 反对

使用道具 举报

3371

主题

8万

回帖

1万

金币

海燕硕士

积分
235021

万时之王老会员精华勋章勤奋勋章交易勋章光影行者

发表于 2025-5-10 16:18 | 显示全部楼层
这次还是在继续的亏损就比较遗憾了,希望下一次能够有好运呢
回复 支持 反对

使用道具 举报

3371

主题

8万

回帖

1万

金币

海燕硕士

积分
235021

万时之王老会员精华勋章勤奋勋章交易勋章光影行者

发表于 2025-5-10 16:18 | 显示全部楼层
hy188820 发表于 2025-5-10 16:08
0 [& b# r& ?5 N! e输钱还是非常无语的,不过是运气不佳而已,自己淡定接受也没啥

" |: m. }5 u- P$ Q4 p当然这个游戏输了钱的时候也是非常的无语的,希望下一次能够有好运气
回复 支持 反对

使用道具 举报

3371

主题

8万

回帖

1万

金币

海燕硕士

积分
235021

万时之王老会员精华勋章勤奋勋章交易勋章光影行者

发表于 2025-5-10 16:18 | 显示全部楼层
hy188820 发表于 2025-5-10 16:07/ c/ n' o! B8 J2 ~7 U
玩彩票游戏全是运气结果,但是自己打法计划不能少,不然上头了就杂乱无章 ...
" s# b9 g; s7 h4 y6 D/ f
这种彩票游戏的话当然还是非常需要的,就是能够有一个好运气啊
回复 支持 反对

使用道具 举报

3371

主题

8万

回帖

1万

金币

海燕硕士

积分
235021

万时之王老会员精华勋章勤奋勋章交易勋章光影行者

发表于 2025-5-10 16:18 | 显示全部楼层
二电厂哥 发表于 2025-5-10 15:21: N; y3 t0 `- \  P9 g- f
水钱输了倒没什么,就是怕输了个母鸡,把母鸡输掉就没鸡蛋可输了
+ f* p8 f! V3 P6 S1 K8 j
玩游戏输赢都是比较正常的,只要自己能够接受就好了
回复 支持 反对

使用道具 举报

625

主题

2万

回帖

3079

金币

铂金用户

积分
72601

老会员

发表于 2025-5-10 16:19 | 显示全部楼层
lantianyun 发表于 2025-5-10 16:18
6 U0 _4 M2 E. d, {) a; r玩游戏输赢都是比较正常的,只要自己能够接受就好了

7 o& u7 n! \/ e都是可以接受的,只要是问题不大了,我都是不用管的啊
回复 支持 反对

使用道具 举报

625

主题

2万

回帖

3079

金币

铂金用户

积分
72601

老会员

发表于 2025-5-10 16:38 | 显示全部楼层
这么一点,关系都是不大的,我们也是不会有什么问题的啊
回复 支持 反对

使用道具 举报

625

主题

2万

回帖

3079

金币

铂金用户

积分
72601

老会员

发表于 2025-5-10 16:38 | 显示全部楼层
以后还是可以有更好的机会,给我们去盈利更多了都啊
回复 支持 反对

使用道具 举报

1211

主题

3万

回帖

668

金币

铂金用户

积分
90900

老会员交易勋章光影行者

 楼主| 发表于 2025-5-10 18:48 | 显示全部楼层
shunlifeiup 发表于 2025-5-10 14:55
3 @! l; J4 a1 D) W& l输一点服务费无所谓了,楼主这小平注玩法有点稳呀

& W8 f1 M$ t$ r7 J! B这一点损失的确是没什么大不了的了,我也是感觉到可以接受的了
回复 支持 反对

使用道具 举报

您需要登录后才可以回帖 登录 | 立即注册

本版积分规则

广告合作|评测有奖|福利汇|论坛简介|钱包合集|手机版|小黑屋|Archiver|海燕论坛

快速回复 返回顶部 返回列表