找回密码
 立即注册
澳门威尼斯人
U8
U18
海燕招商
A
蓝盾
e世博
islot.
申博亚洲
B
开云
腾博会
德信
C级广告商
吉祥坊
华体会
查看: 101814|回复: 23

[百科] 皇家比戈塞尔塔足球俱乐部

[复制链接]

1万

主题

3322

回帖

8388

金币

版主

积分
44186

美女勋章优秀版主老会员版主勋章超级精华

发表于 2025-2-7 08:39 | 显示全部楼层 |阅读模式

马上注册,结交更多好友,享用更多功能,让你轻松玩转社区。

您需要 登录 才可以下载或查看,没有账号?立即注册

×
皇家比戈塞尔塔足球俱乐部(RC Celta de Vigo,简称“比戈塞尔塔”或“塞尔塔”)是一家位于西班牙加利西亚自治区比戈市的足球俱乐部。
3 I0 ^* q9 ?4 n  h+ Y0 t5 r2 r. t& U, o( g: x8 L
02.png 6 h2 S2 I( K2 A5 @; U+ J. E7 W

5 s& v7 T# j9 ]2 ~/ N
5 ?4 N6 s2 B, v皇家比戈塞尔塔足球俱乐部多次参与西班牙足球甲级联赛,但从未在联赛和杯赛上取得冠军。1970-1971赛季曾保持主场赛事不败,被称作“巨人杀手”。此后凭借第六名进军欧洲足协杯,但首轮便出局。* }* {4 @+ U) G: V9 D) c; u6 x
# k+ K6 k) i; s
2024年10月,塞尔塔与主帅克劳迪奥续约至2027年。
2 @- U3 ^5 T, z+ F% M; G
: W/ b# p' i" D5 I 03.png
1 O& m3 G* x  Z# o7 H1 Y* m
) y, g3 S! q3 d, ]队伍历史:
) L+ ?4 q8 J' x( q* e9 N2023年7月18日,塞尔塔官方消息,前里尔27岁边锋班巴(Jonathan Bamba)自由身加盟俱乐部,双方签约至2026年。/ ^+ B8 p# \; Q4 ~/ h4 C
# N- M# J1 P" n
2024年7月,外租尤尔根·拉森 、米格尔·罗德里格斯 、马努·桑切斯 、卡莱斯·佩雷斯;博尔哈·伊格莱西亚斯 、卡洛斯·多托尔、埃米利奥·罗德里格斯租借加盟塞尔塔。8月,雷纳托·塔皮亚转会离队,乌奈·努涅斯租借离队 ,马科斯·阿隆索加盟球队 。- C7 w! |0 u! E# z9 n1 w
1 n  ?  [# }- h1 B4 T: h$ t
2025年1月,外租塔代奥·阿连德 。2月,阿纳斯塔西奥斯·多维卡斯转会离队。5 @$ r- D6 a7 [0 V. Y4 }

$ i  m' l- f' t. O& G, K' d' G- O0 f6 J# c/ J% E8 ~
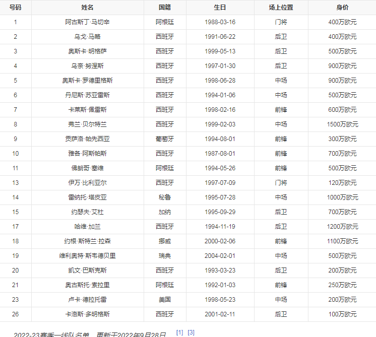
球队阵容:
" M4 ]2 \0 ^" P# t& R
; c0 w2 G5 T  m3 o8 c* c5 P 球队阵容.png
9 C" _) [( [% c  [7 T  W0 i: Q4 }( k/ V1 X2 h
相关新闻:$ ]9 d' l# I+ w! e
比戈塞尔塔宣布主帅下课 半年前还头顶功勋光环
+ @5 b1 o6 [: T* D8 q0 ?西甲球队比戈塞尔塔在其球队官方网站上宣布,该队主帅巴兹奎斯与球队解除了工作合同,俱乐部正在寻找新任主帅,最迟将本周末联赛前宣布新帅人选。% D, ~0 |4 y! {* @
1 r" A' J8 _/ h( E3 l1 {
本赛季塞尔塔战绩极为糟糕,29战罢该队仅以6胜9平14负的成绩排名西甲倒数第三位,保级压力极大。塞尔塔是西甲主场成绩最差的球队,在此前的14场主场比赛中,该队仅1胜6平7负拿到9分。上周末塞尔塔在最后时刻连丢三球,以2 比4惨败于升班马维尔瓦脚下,这场失利是巴兹奎斯下课的直接导火索。
  E7 R$ m2 p  U. X& e
% I; L5 X' ?  \% \0 a( F令人唏嘘的是,仅仅半年之前,塞尔塔球迷还把巴兹奎斯当成了上帝。04年夏天塞尔塔降到西乙,巴兹奎斯随即接手球队。仅仅用了一年,塞尔塔就重新杀回了甲级。上赛季塞尔塔作为升班马表现极为出色,最终以第六位的成绩跻身欧洲联盟杯,球队甚至曾经在西甲长期领跑。本赛季的双线作战极大消耗了并不厚实的球队深度,联盟杯中该队虽然杀入16强,但却在联赛中却举步维艰。颇为讽刺的是,02-03赛季塞尔塔从欧冠小组赛中出线,但最终却在联赛中降级。如今等待塞尔塔的,会是恶梦的重演吗?
: X) W4 B/ k) K! O" K
; W( a: U: `" x5 r- \) d( ~# h2023年2月, 西甲塞尔塔官方宣布,37岁巴西门将迭戈-阿尔维斯加盟球队 。6月5日,西甲第38轮,塞尔塔2-1击败巴萨,以11胜10平17负积43分成功保级 。同月,塞尔塔官方宣布,终止与一线队主教练卡洛斯·卡瓦哈尔的合同关系 ;与贝尼特斯就担任主教练达成原则性协议,双方签约三个赛季 。7月1日消息,罗马官方宣布卡莱斯·佩雷斯转会至塞尔塔 。7月21日,皇马官方消息,多托尔加盟塞尔塔 。8月,塞尔塔官方宣布,和前锋桑蒂·米纳解约 。
& j, P; K7 u; S% Y& O/ B
. c+ f( e) g3 }: T" J8 _  ?2024年2月,塞尔塔官方宣布,球队签下阿根廷前锋阿连德 。# P7 W. c( t0 W

' a0 b/ C; I, _: m) s$ r7 O  C2024年3月12日,塞尔塔俱乐部官方宣布,球队主帅贝尼特斯下课。
+ q3 U9 p' a3 O, G) W" }
7 ]9 r$ }4 X- a7 U2 O+ X2024年3月13日,塞尔塔官方宣布,B队主帅希拉尔德斯升任一线队主帅。
* k# x9 j* X; B/ z5 g% ^
" ~* B- Y* Z* s+ J' W  Q' J& K2024年8月2日晚,马拉加俱乐部官方宣布,球队签下塞尔塔前锋洛韦特。 7 k7 K6 F3 ?8 y' U6 G
! {: u2 M$ w# h. W
2024年10月,塞尔塔与主帅克劳迪奥续约至2027年。
  W) ?$ ]6 {4 ^1 s9 Z' v
1 |; ~) a- m: I7 V( p
$ r, E  v! n5 {8 b/ _) @
回复

使用道具 举报

36

主题

1万

回帖

3789

金币

千足金牌会员

积分
50064

老会员美女勋章光影行者

发表于 2025-2-7 08:40 | 显示全部楼层
塞尔塔在西甲不算是豪门了,存在感也不是很强,实力稍差一点
回复 支持 反对

使用道具 举报

822

主题

1万

回帖

4564

金币

千足金牌会员

积分
40517

老会员交易勋章光影行者

发表于 2025-2-7 09:15 | 显示全部楼层
西甲的球队还是有一定的了解的,但是球队的实力比较一般,没有什么好的成绩了。
回复 支持 反对

使用道具 举报

1053

主题

2万

回帖

8569

金币

铂金用户

积分
74633

老会员交易勋章光影行者

发表于 2025-2-7 09:29 | 显示全部楼层
西甲的球队还是很熟悉的,这个球队实力一般,不是很出名的球队
回复 支持 反对

使用道具 举报

3766

主题

8万

回帖

1万

金币

海燕硕士

积分
240808

万时之王老会员精华勋章勤奋勋章

发表于 2025-2-7 09:31 | 显示全部楼层
这个俱乐部的成绩确实也是比较一般的平时的话也是没有怎么关注过了
回复 支持 反对

使用道具 举报

3766

主题

8万

回帖

1万

金币

海燕硕士

积分
240808

万时之王老会员精华勋章勤奋勋章

发表于 2025-2-7 09:31 | 显示全部楼层
飞舞倾城 发表于 2025-2-7 09:29
1 N5 V6 K1 R/ f" e0 x+ r西甲的球队还是很熟悉的,这个球队实力一般,不是很出名的球队

* T8 d. w/ T+ v: o# k. B3 P平时大家都比较喜欢玩西甲,所以肯定还是关注的就比较多了一点了。
回复 支持 反对

使用道具 举报

3766

主题

8万

回帖

1万

金币

海燕硕士

积分
240808

万时之王老会员精华勋章勤奋勋章

发表于 2025-2-7 09:32 | 显示全部楼层
云水谣 发表于 2025-2-7 08:40
: W- [8 C% H: K3 D* M塞尔塔在西甲不算是豪门了,存在感也不是很强,实力稍差一点

# j6 |9 y- m8 D+ ^) R3 t( l实力方面确实是没有其他的球队强,所以大家呢也是不用太过于在意。
回复 支持 反对

使用道具 举报

21

主题

2939

回帖

2948

金币

银牌会员

积分
12376

老会员

发表于 2025-2-7 11:21 | 显示全部楼层
希望克劳迪奥这次能带队走出泥潭,别让球迷一年到头都在为保级算积分!
回复 支持 反对

使用道具 举报

头像被屏蔽

102

主题

9137

回帖

2659

金币

禁止发言

积分
23011

老会员美女勋章

发表于 2025-2-7 12:51 | 显示全部楼层
提示: 作者被禁止或删除 内容自动屏蔽
回复 支持 反对

使用道具 举报

3373

主题

8万

回帖

1万

金币

海燕硕士

积分
237558

万时之王老会员精华勋章勤奋勋章交易勋章光影行者

发表于 2025-2-7 19:32 | 显示全部楼层
好像这个足球俱乐部在西班牙还是比较有名的一个足球俱乐部吧,还是需要去分析一下
回复 支持 反对

使用道具 举报

3373

主题

8万

回帖

1万

金币

海燕硕士

积分
237558

万时之王老会员精华勋章勤奋勋章交易勋章光影行者

发表于 2025-2-7 19:32 | 显示全部楼层
沐浴晨阳 发表于 2025-2-7 11:21
$ S' C% c& q4 B! C+ }& T6 B希望克劳迪奥这次能带队走出泥潭,别让球迷一年到头都在为保级算积分!

& H2 I- D/ O. `这个还是希望他们后面能够好好的表现一下,还是希望能够提高他的成绩啊
回复 支持 反对

使用道具 举报

3373

主题

8万

回帖

1万

金币

海燕硕士

积分
237558

万时之王老会员精华勋章勤奋勋章交易勋章光影行者

发表于 2025-2-7 19:32 | 显示全部楼层
百万富豪 发表于 2025-2-7 09:15
: U' P2 G6 V5 e! S4 J西甲的球队还是有一定的了解的,但是球队的实力比较一般,没有什么好的成绩了。 ...
1 k4 p* A, \+ u
最近的成绩好像看起来还是比较一般的,还是希望能够后面能够好好的表现呢
回复 支持 反对

使用道具 举报

60

主题

4万

回帖

2207

金币

钻石用户

积分
124374

万时之王老会员勤奋勋章交易勋章光影行者

发表于 2025-2-7 21:20 | 显示全部楼层
这个俱乐部信息也是可以好好看看了解下关注关注的了!
回复 支持 反对

使用道具 举报

60

主题

4万

回帖

2207

金币

钻石用户

积分
124374

万时之王老会员勤奋勋章交易勋章光影行者

发表于 2025-2-7 21:20 | 显示全部楼层
百万富豪 发表于 2025-2-7 09:15! E. D0 V/ ?% z& v6 O$ _2 {
西甲的球队还是有一定的了解的,但是球队的实力比较一般,没有什么好的成绩了。 ...

8 v( F8 R4 }  ~; `' [/ g了解是必须的了, 但是确实是一直对这个不是很熟悉的了,学习下的了!
回复 支持 反对

使用道具 举报

60

主题

4万

回帖

2207

金币

钻石用户

积分
124374

万时之王老会员勤奋勋章交易勋章光影行者

发表于 2025-2-7 21:21 | 显示全部楼层
lantianyun 发表于 2025-2-7 19:32
) J; e8 I& ~1 P0 F& o5 c, a. y这个还是希望他们后面能够好好的表现一下,还是希望能够提高他的成绩啊 ...
6 m( P- X! w: T' o) k9 l
确实是的了,实力也是很关键的啦, 不然也是长久不了的了!
回复 支持 反对

使用道具 举报

您需要登录后才可以回帖 登录 | 立即注册

本版积分规则

广告合作|评测有奖|福利汇|论坛简介|钱包合集|手机版|小黑屋|Archiver|海燕论坛

快速回复 返回顶部 返回列表